欢迎光临兴鼎工程(深圳)有限公司网站!

咨询热线:0755-28483260

收藏 网站地图 英文

当前位置首页 » 企业动态 » 创新双响|兴鼎工程连获两项国家实用新型专利证书
兴鼎新闻中心 News Center
联系兴鼎Contact us
联系兴鼎
兴鼎工程(深圳)有限公司

咨询热线:075528483260

传真:0755-28485033

QQ:3179218391

邮箱:szxdgc@163.com

地址:深圳市龙岗区坂田百瑞达大厦C座513-515

创新双响|兴鼎工程连获两项国家实用新型专利证书

返回列表 来源:兴鼎工程 浏览:- 发布日期:2026-03-30 11:21:29【
春华秋实,创新不止。近日,兴鼎工程(深圳)有限公司在节能环保与精密环境控制领域再添两项国家实用新型专利,分别为“一种基于恒温恒湿的独立除湿系统”与“一种RTO热新风余热回收循环利用节能装置”。两项专利的获得,充分展现了公司在工业环境控制与能源循环利用领域的技术积累与持续创新能力。
图片
图片

专利一:独立除湿系统,守护精密环境

本次获得专利的“一种基于恒温恒湿的独立除湿系统”,聚焦工业环境中除湿环节的痛点问题。传统除湿系统在长期运行过程中,集水排放不及时容易对设备内部造成腐蚀,影响系统稳定性与使用寿命。该专利技术通过设置集水盘与可快速定位的独立水箱结构,实现了除湿系统内集水的快速独立排出,有效避免了水体对壳体及内部电器的腐蚀风险。同时,系统结构紧凑、维护便捷,为电子制造、医药生产、精密实验等对湿度敏感的场所提供了更可靠的环境保障方案。

图片
图片

专利二:RTO余热回收装置,赋能绿色节能

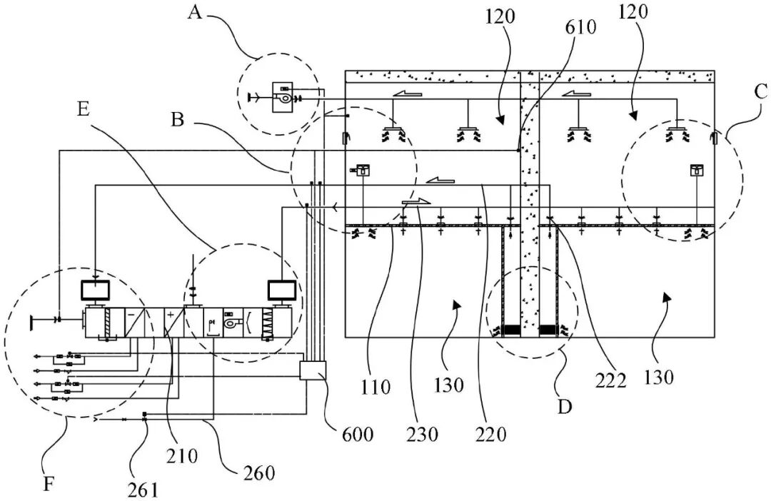
另一项专利“一种RTO热新风余热回收循环利用节能装置”,是公司此前发明专利的技术延伸与优化。该装置通过集成AHU空调系统、RTO热新风系统与室外新风系统,实现多模式智能切换,根据不同工况自动调节运行状态。控制系统实时监测室内外温湿度与压差,动态调节各阀门开度,在保障生产车间恒温恒湿的同时,最大限度利用RTO热新风余热,降低系统综合能耗。该技术方案为涂装、印刷、化工等行业提供了高效节能的废气处理与环境控制一体化解决方案。

双专利加持,彰显技术硬实力

两项专利分别从“精准环境控制”与“高效能源利用”两个维度切入,体现了兴鼎工程对工业生产中节能降耗与环境保障双重需求的深刻理解。公司始终坚持“正实、精诚、求新”的企业理念,将技术创新作为驱动发展的核心引擎,持续围绕绿色工厂、智慧机电、洁净环境等方向开展研发攻关。

截至目前,兴鼎工程已在节能环保、机电系统集成等领域形成多项自主知识产权,逐步构建起覆盖设计、施工、运维全过程的技术体系。未来,公司将继续加大研发投入,推动专利成果向工程实践转化,为高端制造、生物医药、新能源等行业客户提供更高效、更节能、更可靠的系统解决方案,助力产业绿色升级与高质量发展。

兴鼎工程(深圳)有限公司 版权所有         备案号:粤ICP备17054908号
电话号码:0755-28483260            传真:0755-28485033
邮箱:szxdgc@163.com                              地址:深圳市龙岗区坂田百瑞达大厦C座5层
 

微信公众号